أجدد التسريبات عن هاتف أيفون القادم الذي سيكون قابل للطي
تسريبات هاتف ابل الجديد
تعودنا من شركة ابل المنفردة في صناعة الهواتف الذكية الخاصة بها ايفون iPhone والتي تعمل بنظام التشغيل IOS علي الابتكارات الحديثة في عالم تكنولوجيا الهواتف الذكية وتتصدر ابل صدارة المنافسات العملاقة بين شركات تطوير الهواتف الذكية وجاءت المفاجأة بتسريبات جديدة تكشف عن هاتف جديد وهذه التسريبات أثارت الجدل والأقاويل بين مستخدمي الهواتف الذكية حول معرفة مواصفات هذا الهاتف الجديد وجاءت تسريبات هاتف ابل الجديد بانه سيكون هاتف قابل للطي حيث يُمكنك تطبيقه مثل الورقة وتضعه في جيب قميصك أو حقيبة العمل فهو سيصمم ليجعل المستخدمين قادرين علي طي الهاتف وقتما شاءوا .

يتصور البعض أن شركة ابل ستقوم عن الإفصاح عن الهاتف الجديد في مؤتمر برشلونة الذي سيقام نهاية شهر فبراير 2019 ولكن يقول بعض الخبراء أن الشركة ستعلن في هذا المؤتمر عن خدمة جديدة إخبارية ولا مجال في هذا المؤتمر عن الإعلان عن أي هواتف جديدة ويقول أيضاً بعض الخبراء أن تسريبات هاتف ابل الجديد جاءت بسبب إعلان بعض الشركات المنافسة الأخري لصناعة الهواتف عن هاتف قابل للطي ولهذا قررت ابل إطلاق تلك التسريبات لجذب المستخدمين كما أنه سوف يتم الإعلان عنه ليكون تاريخ إصداره في عام 2020 ولهذا من المتوقع أن نشاهد شركات صناعة الهواتف الأخرى يستعدوا للكشف عن الإصدارات الجديدة من هواتفهم القابلة للطي في أقرب فرصة .
أقرأ أيضاً : اختبار جديد علي هاتف أيفون أكس لم تكن ابل نفسها تتوقع هذه النتيجة .
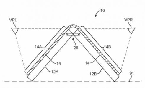
براءة أختراع لهاتف ابل الجديد القابل للطي
في ظل أستعداد جميع الشركات المنافسة لإصدار هواتفهم القابلة للطي لا تزال ابل تضع المخططات الأولي لتصميم إصدارها الجديد المقرر أن يري النور في عام 2020 والجدير بالذكر أن ابل سجلت براءة الاختراع الخاصة بهاتفها القابل للطي عام 2011 وتم تحديث براءة الاختراع عام 2016 حيث من المقرر من التصميم المبدئي بأنه يتميز بظام ميكانيكي ليساعد الشاشة علي الفتح والإغلاق ويأتي تصميم أخر من ضمن براءة أختراع لهاتف ابل الجديد القابل للطي بأنه يتميز بشاشة قابلة للطي بشكل كامل لإغلاق الهاتف ويأتي تصميم أخر قد يكون أبسط تصميم ما بين اختراعات ابل المتعارف عليها وهو تصميم بوحدتين لهما فواصل لكي يسهل عملية الطي وقد يكون هذا التصميم مستبعد من بين التصميمات المُسربة . 

وفي النهاية أعزائي القراء أتمني أن ينال المقال إعجابكم وانتظروا منا كل ما هو جديد إن شاء الله .